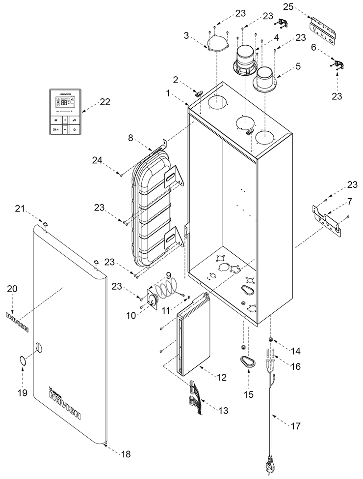
Корпус Navien Ace 30K Gold

Корпус