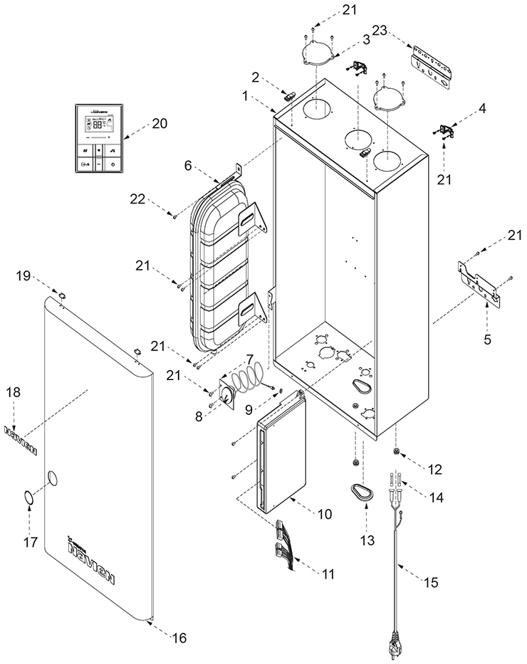
Корпус Navien Coaxial Ace 13K Silver

Корпус